NOX IP Bussen
Via de NOX IP bus kunnen er extra buslijnen gecreëerd worden zonder dat er gebruik gemaakt moet worden van een extra (slave)centrale. Dit doen we via een netwerkconverter en een repeater.
Opmerkingen over de IP BUS
- Er kunnen op 1 NOX centrale 63 IP Bussen.
- Max 200 modules per IP Bus.
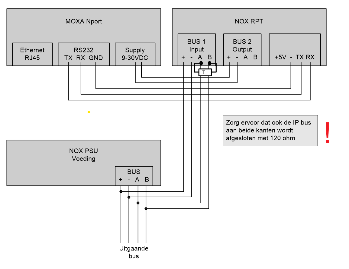
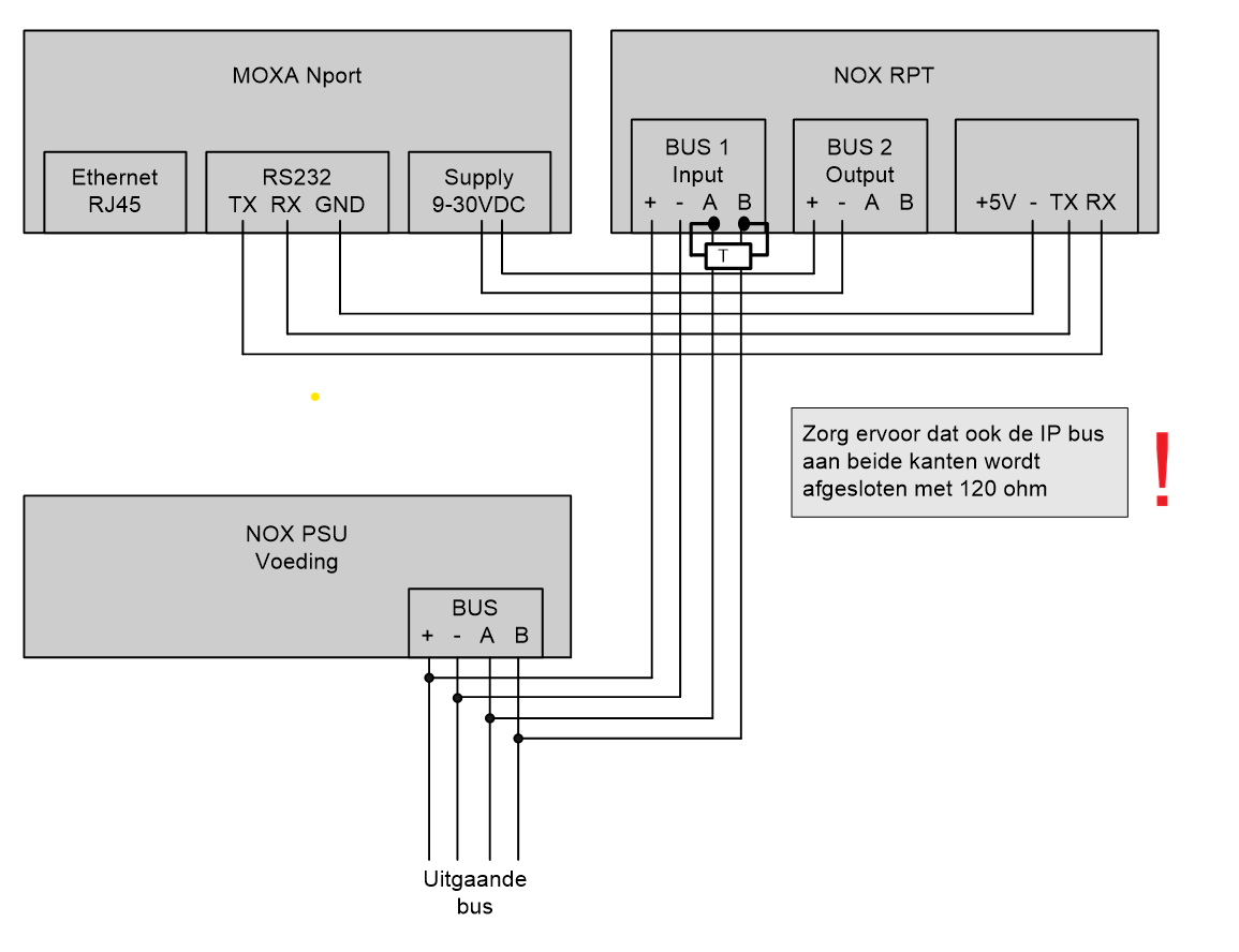
Aansluiting IP Bus
LET OP:
De NOX RPT kan aan het begin van de nieuwe IP-bus worden geplaatst, maar hij kan ook als bus deelnemer ergens in “het midden” zitten. Zorg ervoor dat de weerstanden dan op de juiste plek worden gemonteerd.
Instellen netwerkconverter MOXA
Om de instellingen van de MOXA te controleren of te wijzigen geef je het Ip adres in de webbrowser in.
-
compleet geprogrammeerd geleverd, met IP adres 10.10.11.13. en netmask 255.255.255.0.
- Standaard of na een reset IP adres 192.168.127.254 en netmask 255.255.255.0.
Username: admin Password: moxa
In de drie onderstaande afbeeldingen staan welke instellingen er met de Nport 5110 gemaakt moeten worden
Let op:
In veel gevallen is een gateway ook belangrijk/noodzakelijk!
Als alle instellingen gemaakt zijn, graag de MOXA herstarten en eventueel de instellingen controleren.
In de drie onderstaande afbeeldingen staan welke instellingen er met de Nport 6150 gemaakt moeten worden.
Let op:
In veel gevallen is een gateway ook belangrijk/noodzakelijk!
Als alle instellingen gemaakt zijn, graag de MOXA herstarten en eventueel de instellingen controleren.
Instellen van de NOXRPT module
De bias weerstanden
RPT als een seriële RS232-gateway (van RS232 naar NOX BUS): De bias-weerstanden moeten in de stand AAN(ON) staan bij schakelaar S2.

RPT als bus-repeater of als seriële RS232-gateway (van NOX BUS naar RS232): De bias-weerstanden moeten in de stand UIT staan bij schakelaar S2.

Galvanisch scheiding
Door middel van twee jumpers wordt de busvoedingsspanning galvanisch gescheiden.
Beide jumpers (J1&J2)gesloten +15v en GND op uitgang.

J1 open en J2 gesloten enkel GND op de uitgang.

J1&J2 open geen +15v en GND op de uitgang. Galvanisch gescheiden tot max 4kV.

Toevoegen van de IP Bus in de software
Open de NOXconfig software en ga naar het tabblad “modules”. Dubbelklik hierna op CPU waarvan het ID 0 is.

Wanneer u dit gedaan heeft ziet u hieronder het menu “Bus over IP”. Klik op nieuw en geef hier het IP adres (van de Nport) en de poort op. Het busnummer word automatisch toegewezen wanneer u meerdere IP bussen toevoegt.

Op dit moment (als u de configuratie naar de centrale heeft verstuurd) heeft u extra bussen gecreëerd. Wanneer u een module heeft/aanmaakt ziet u de optie IP Bus. Als u dit selecteert kunt u de zojuist aangemaakt IP bussen selecteren.

Via de terminal kan je de IP Bus Debuggen.











